工资到手计算器 员工工资计算器
员工工资计算器
员工工资计算器
税前税后工资转换神器:张大妈工资计算器
工作中常遇到这样的问题:
北京市,税前年薪50个W,税后真正拿到手的有多少个W?
天津市,想税后30个W,得向HR要多少个W的税前?
……
今天介绍一款免费、简单好用的税前、税后工资转换神器:“张大妈计算器”。网页地址:https://hizdm.cn/city/beijing/
图 1 主界面
√ 点击红框切换城市;
一、税前转税后:
操作比较简单:输入税前月薪 → 设置专项扣除及五险一金标准 → 点击查看结果:
图 2 配置税前月度收入、专项附加、五险一金标准
根据设定算得的月度税后收入总额:
图 3 月度税后收入总额
√ 此处“税后”为每月税后收入的平均值。
√ 由于当前实行的累计税率,因此每月实际税后收入会与该数略有出入,但全年平均数与此基本吻合。
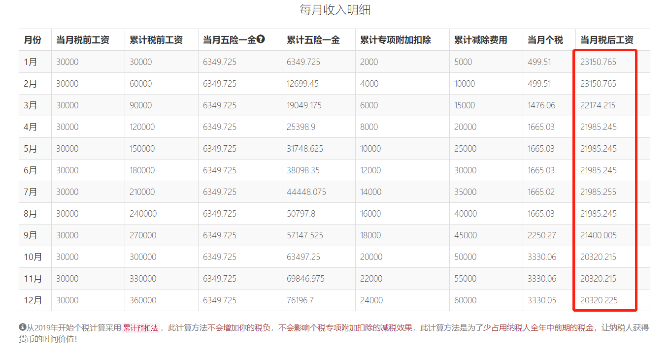
该工具也可以帮你推演正常情况下每月税后工资清单:
图 4 每月税后工资推演
二、税后转税前:
点击此处进入“工资反推”界面:
图 5 税后转税前入口
点击“计算”,系统会自动算出结果与目标税后月薪无限接近的税前月收入:
图 6 自动反推的税前月收入
“新版工资薪金个税计算器”来了!快在你的微信里收藏,天天用得上!
新个税法过渡期政策实施后,个税减除费用标准从每人每月3500元上调至每人每月5000元,并适用新的税率表。目前正值11月征期,纳税人已经普遍享受到了个税改革带来的红利。不过,由于个税都是单位代扣代缴,很多人都不会算,也不知道自己能减多少税。
为了帮助纳税人快速计算应缴个税,税务总局推出“新版工资薪金个税计算器小程序”,有了这款神器,计算个税再也不用求会计小姐姐们帮忙了。
具体如何使用呢?下面,小编就手把手教会你。
第一步:关注“国家税务总局微信公众号”,找到关联小程序。
路径一 :通讯录——公众号——点击右上角“+”,搜索“国家税务总局”点击关注——查看使用小程序
路径二 :关注并打开“国家税务总局微信公众号”,点击“微服务”菜单——查看使用“个税计算器”。
第二步:打开小程序,按照提示输入你的月收入及税前扣除项目。
第三步: 点击“计算一下”,计算器会自动显示出你每月应缴个税,并与原政策标准下的缴税额进行对比,马上得出减税数额,同时还会告诉你一年省下的钱能干点啥,幸福感瞬间爆棚有木有。

![-[奥运女足十大参赛球星 玛塔领衔居首韩端在列是吗] -[奥运女足十大参赛球星 玛塔领衔居首韩端在列是吗]](http://www.game1086.com/zb_users/theme/RanGame/usr/random/1.jpg)




发表评论